
型號意義

前言
G型單螺杆泵在發達國家已廣泛使用,國外多數稱單螺杆泵為“莫諾泵”《MONOPUMPS》,德國稱為“偏心轉子泵”。由於其優良的性能,近年來在國內的應用範圍也在迅速擴大。
它的特點是對介質的適應性強、流量平穩、壓力脈動動小、自吸能力高。
我們對相關的G型單螺杆泵產品,作了分析與研究,博取眾長,對自己的產品進行不斷的改革創新。目前我單位的產品已自成一個體係,壓力為0.6~1.2MPa,特殊要求壓力可達3MPa,可滿足廣大用戶對G型單螺杆泵的不同需求。
我單位生產的泵,質量可靠,實行三包,價格也相對較低,同時確保備品備件的正常供應。
本單位熱忱為廣大用戶服務,接受用戶對特殊要求G型單螺杆泵的設計和製造任務。
原理與特性
G型單螺杆泵是按迥轉齧合容積式原理工作的新型泵種,主要工作部件是偏心螺杆(轉子)和固定的襯套(定子)。
由於該二部件的特殊幾何形狀,分別形成單獨的密封容腔,介質由軸向均勻推行流動,內部流速低,容積保持不變,壓力穩定,因而不會產生渦流和攪動。每級泵的輸出壓力為0.6MPa,揚程60m(清水),自吸高度一般在6m,適用於輸送介質溫度80℃以下(特殊要求可達150℃)。
因定子先用多種彈性材料製成,所以這種泵對高粘度流體的輸送和含有硬質懸浮顆粒介質或含有纖維介質的輸送,有一般泵種所以能勝任的特性。其流量與轉速成正比。
傳動可采用聯軸器直接傳動,或采用調速電機,三角帶,變速箱等裝置變速。
這種泵另件少,結構緊湊,體積小,維修簡便,轉子和定子是本泵的易損件,結構簡單,便於裝拆。
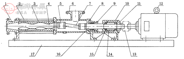
結構圖
![]() |
|||||||||||
1 |
出料口 |
2 |
拉杆 |
3 |
定子 |
4 |
螺杆軸 |
5 |
萬向節總成 |
6 |
吸入口 |
7 |
連節軸 |
8 |
填料座 |
9 |
填料壓蓋 |
10 |
軸承座 |
11 |
軸承蓋 |
12 |
電動機 |
13 |
連軸器 |
14 |
軸套 |
15 |
軸承 |
16 |
傳動軸 |
17 |
底座 |
||
應用範圍
一般說來G型單螺杆泵可作為一種通用有關當局。運行速度可高可低,泵的出口額定壓力可隨泵的級數增加而增加,每增加一級,壓力就增加0.6MPa,所以使用範圍極廣。
1、環境保護:工業汙水、生活汙水、含有固體顆粒及短纖維的汙泥濁水的輸送。特別適用於油水分離器,板框壓濾機等設備。
2、船舶工業:輪底清洗、油水、油渣、油汙水等介質的輸送。
3、石油工業:輸送原油。近年來,尤其成功地抽吸地下千米之深的原油與水的混合物,煤田裏的煤田氣和水的混合物,從而大大降低了機械采油、采煤田氣的成本。當油田到了後期,使用螺杆泵往地層內灌注聚合物增加油田采收率。
4、醫藥、日化:各種粘調漿、乳化液、各種軟膏化裝品等的輸送。
5、食品罐頭業:各種粘稠澱粉、食油、蜂密、糖醬、果漿、奶油、魚糜肉糜以及其下腳料的輸送。
6、釀造業:各種發酵粘稠液、濃酒槽、糧食製品渣各種醬類、漿和含有塊關固態物的粘液等。
7、建築工業:水泥沙漿、石灰漿、塗料及其經糊狀體的噴塗與輸送。
8、采礦工業:礦井內的含固體顆粒的地下和汙漿水等排送到地麵。
9、化學工業:各種懸浮液、油脂、各種膠體漿、各種粘合劑。
10、印刷、造紙工業:高粘度油墨、牆紙的PVC高分子塑料糊和各種濃度的紙漿,短纖維漿料的輸送。
性能參數
型 號 |
轉速 r/min |
流量 m3/h |
壓力 MPa |
電機 KW |
揚程 m |
進口 mm |
出口 mm |
允許顆粒直徑 mm |
允許維修長度 mm |
G20-1 |
960 |
0.8 |
0.6 |
0.75 |
60 |
25 |
25 |
1.5 |
25 |
G20-2 |
960 |
0.8 |
1.2 |
1.5 |
60 |
25 |
25 |
1.5 |
25 |
G25-1 |
960 |
2 |
0.6 |
1.5 |
60 |
32 |
25 |
2 |
30 |
G25-2 |
960 |
2 |
1.2 |
2.2 |
120 |
32 |
25 |
2 |
30 |
G30-1 |
960 |
5 |
0.6 |
2.2 |
60 |
50 |
40 |
2.5 |
35 |
G30-2 |
960 |
5 |
1.2 |
3.0 |
120 |
50 |
40 |
2.5 |
35 |
G35-1 |
960 |
8 |
0.6 |
3.0 |
60 |
65 |
50 |
3 |
40 |
G35-2 |
960 |
8 |
1.2 |
4.0 |
120 |
65 |
50 |
3 |
40 |
G40-1 |
960 |
12 |
0.6 |
4.0 |
60 |
80 |
65 |
3.8 |
45 |
G40-2 |
960 |
12 |
1.2 |
5.5 |
120 |
80 |
65 |
3.8 |
45 |
G50-1 |
960 |
20 |
0.6 |
5.5 |
60 |
100 |
80 |
5 |
50 |
G50-2 |
960 |
20 |
1.2 |
7.5 |
120 |
100 |
80 |
5 |
50 |
G60-1 |
960 |
30 |
0.6 |
11 |
60 |
125 |
100 |
6 |
60 |
G60-2 |
960 |
30 |
1.2 |
15 |
120 |
125 |
100 |
6 |
60 |
G70-1 |
960 |
45 |
0.6 |
15 |
60 |
150 |
125 |
8 |
70 |
G70-2 |
720 |
45 |
1.2 |
18.5 |
120 |
150 |
125 |
8 |
70 |
G85-1 |
720 |
65 |
0.6 |
15 |
60 |
150 |
150 |
10 |
80 |
G105-1 |
500 |
100 |
0.6 |
22 |
60 |
200 |
200 |
15 |
110 |
G135-1 |
400 |
150 |
0.6 |
37 |
60 |
250 |
250 |
20 |
150 |
請注意
1、性能表的試驗數據以20℃的清水為介質,粘度是1mm2/s。
2、當泵輸送高粘度式有顆粒的介質時,根據介質的性質。泵的轉速必須不同。
3、當泵輸送不同的磨損性介質時,泵的轉速也必須不同。
注意事項
1、開機前必先確定運轉方向,不得反轉。
2、嚴禁在無介質情況下空運轉,以免損壞定子。
3、新安裝或停機數天後的泵,不能立即起動,應先向泵體內注入適量機油,再用管子鉗板動幾轉後才可起動。
4、輸送高粘度或含顆粒及腐蝕性的介質後,應用水或深劑進行衝洗,防止阻塞,以免下次起動困難。
5、冬季應排除積液,防止凍裂。
6、使用過程中軸承箱內應定期加潤滑油,發現軸端有滲流時,要及時處理或調換油封。
7、在運行中如發生異常情況,應立即停車檢查原因,排除故障。
故障原因及排除方法
故障 |
原因 |
排除方法 |
||
1、泵不能起動 |
|
|
||
2、泵不出液 |
|
|
||
3、流量達不到 |
|
|
||
4、壓力達不到 |
|
|
||
5、電機過熱 |
|
|
||
6、流量壓力急劇下降 |
|
|
||
7、軸密封處大量泄漏液體 |
|
|