
型號意義

產品簡介
QJ深井潛水泵是電機與水泵直聯潛入水中工作的提水機具,它適用於從深井提取地下水,也可用於河流、水庫、水渠等提水工程:主要用於農田灌溉及高原山區的人畜用水,亦可供城市、工廠、鐵路、礦山、工地供排水使用。
產品特點
QJ深井潛水泵是電機與水泵直聯一體潛入水中工作的提水機具,它適用於從深井撮地下水、也可用於河流、水庫、水渠等到提水工程:主要用於農田灌溉及高原山區的人畜用水,亦可供城市、工廠、鐵路、礦山、工地供排水使用。
QJ深井潛水泵特點是:
1、電機、水泵一體、潛入水中運行,安全可靠。
2、對井管、揚水管無特殊要求(即:鋼管井、灰管井、土井等均可使用;在壓力許可下、鋼管、膠管、塑料管等均可作揚水管使用
3、安裝、使用、維護方便簡單占地麵積小、不需要造泵房。
4、結構簡單,節省原材料。
QJ深井潛水泵使用的條件是否合適,管理得當與使用壽命有直接的關係。
使用條件
1、額定頻率為50赫芝,額定電壓為380+5%伏的三相交流電源。
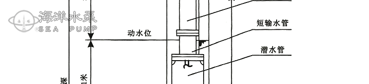
2、QJ深井潛水泵進水口必須在動水位1米以下,但潛水深度不得超過靜水位以下70米,電機下端距井底水深至少在1米以上。
3、水溫一般不得高於20OC。
4、水質要求:(1)水中含砂量不大於0.01%(重量比);
(2)PH值在6.5~8.5範圍;
(3)氯離子含量不大於400毫克/升
5、要求井正直、進壁光滑,不得有蟛管錯開。
使用須知
一、電機使用前必須灌滿清水,擰緊注水放氣螺栓,否則不準使用。
二、陸地試運轉不得超過一秒。
三、電泵不準倒臥或傾使用。
四、電動機必須完全潛入水中,但潛入深度應不大於70米。
五、引線與電纜接頭按規定操作。
六、訂購高揚程潛水電泵請參閱《高揚程潛水電泵型譜》及《高揚程潛水電泵使用手冊》。
電纜接頭方法
![]() |
![]() |
![]() |
| 1、去掉絕緣層,不得損壞導體。 2、3根導線長短錯開。 3、刮淨導體絕緣漆膜。 4、保證接頭不存有油、水和其它汙物。 |
1、把接頭分為數股(不小於6股)均勻分開。 2、把兩個接頭交叉在一起,交叉長度以兩端線頭與絕緣層對齊為宜。 |
1、把各股緊合一起,從中部分出一股向一端纏繞,使各股一次纏繞完畢。 2、另一端以同樣方法進行。 3、用手鉗把接頭纏緊,有條件時可把接頭掛錫,使效果更佳。 |
![]() |
![]() |
| 1、先用普通黑膠布對纏繞部分包紮兩層,包紮要緊。 2、亞敏膠粘帶(黑色)包紮3層,每包紮一層用手擠壓一次,保證包紮質量。 3、然後用塑料絕緣膠帶包紮兩層即可。 |
1、先整理好小接頭,用亞敏膠粘帶包紮5層(不得少於4層)並要包住電纜護套部分25mm以上 2、用塑料絕緣膠帶包紮3層,兩端部超過前一層5mm以上左右。 3、為防止下井時增破包紮層,再用50mm寬,長度適當的自行車內胎,銼淨兩麵,塗上膠水,在接頭外麵纏繞一層,起保護作用。 |
![]() |
![]() |
![]() |
| 采用電弧焊接接頭更佳。 | 也可采用套管冷壓接頭方法。 | 在包紮第一層黑膠布時,不得讓銅絲頭漏出或紮透膠布。 |
請 您 注 意 |
1、包紮接頭前需要檢查電機的絕緣,符合說明書要求方可接線,接頭包好後必須在室溫水中浸泡12小時後,測量絕緣,達到要求後方可下井。 2、兩種膠帶均有彈性,包紮時應該拉緊,然後一層包完後原處繞幾圈,防止長時間後脫開。 3、每個接頭在包紮中,當膠帶纏繞到兩端頭時,後纏繞層必須超出前層5mm以上。 4、包紮三根單蕊引線時,把亞敏膠帶卷成三角形狀墊入孔隙處,預防水滲入。(如圖) |
![]() |
注意事項
電纜接頭應嚴格按附圖進行;
1.下井前應檢查,各部螺絲有無鬆動,電纜有無破口,電機是否漏水,電機軸、水泵軸轉動是否靈活無阻;
2.下井前檢查電機電阻應在150 兆歐以上;
3.電機注水要認真防止假滿;
4.保護開關和啟動設備應按規定配齊;
5.電機運轉2500 小時應進行一次大修,1500 小時應進行小檢修;
6.電泵停機存放時應把電機內存水放完;
7.嚴禁不懂裝懂野蠻拆裝、修理應在本廠或定點修理廠進行;
8.禁止頻繁“開”、“停”;
9.地麵試驗電機轉向在瞬間不超一秒鍾進行;
10.安裝電泵時謹防異物掉入井內;
11.如遇下列情況應停機檢修:
(1)電流電壓超過額定值。
(2)流量明顯減少。
(3)QJ深井潛水泵間歇出水或響聲震動較大。
(4)保護開關頻繁跳閘。
(5)電機絕緣,電阻低於0.5 兆歐。
性能參數
型 號 |
流量 (m3/h) |
揚程參考使用範圍 |
電機功率 (KW) |
額定電流 (A) |
出水管直徑 (寸) |
100QJ2-33/6 |
2 |
33 |
0.55 |
1.6 |
1 |
100QJ2-44/8 |
44 |
0.75 |
2.0 |
||
100QJ2-66/12 |
66 |
1.1 |
3.1 |
||
100QJ2-99/18 |
99 |
1.5 |
3.8 |
||
100QJ2-132/24 |
132 |
2.2 |
5.6 |
||
100QJ2-143/26 |
143 |
3.0 |
10.26 |
||
100QJ2-165/30 |
165 |
3.0 |
10.26 |
||
100QJ5-20/5 |
5 |
20 |
1.1 |
3.1 |
1.5 |
100QJ5-32/8 |
32 |
1.5 |
3.8 |
||
100QJ5-48/12 |
48 |
2.2 |
5.6 |
||
100QJ5-56/14 |
56 |
3.0 |
7.3 |
||
100QJ5-72/18 |
72 |
3.0 |
7.3 |
||
100QJ5-80/20 |
80 |
4.0 |
10.26 |
||
100QJ5-96/24 |
96 |
4.0 |
10.26 |
||
100QJ5-120/30 |
120 |
5.5 |
13.74 |
||
100QJ5-160/40 |
160 |
7.5 |
18.5 |
||
型 號 |
流量 (m3/h) |
揚程參考使用範圍 |
電機功率 (KW) |
額定電流 (A) |
出水管直徑 (寸) |
100QJ8-23.5/5 |
8 |
23.5 |
1.5 |
3.8 |
2 |
100QJ8-37.5/8 |
37.5 |
2.2 |
5.6 |
||
100QJ8-47/10 |
47 |
3.0 |
7.3 |
||
100QJ8-56/12 |
56 |
4.0 |
10.26 |
||
100QJ8-70.5/15 |
70.5 |
4.0 |
10.26 |
||
100QJ884.5/18 |
84.5 |
5.5 |
13.74 |
||
100QJ8-94/20 |
94 |
5.5 |
10.74 |
||
100QJ8-103/22 |
103 |
7.5 |
18.5 |
||
150QJ5-100/14 |
5 |
100 |
3 |
7.9 |
2 |
150QJ5-150/21 |
150 |
4 |
10.26 |
||
150QJ5-200/28 |
200 |
5.5 |
13.74 |
||
150QJ5-250/35 |
250 |
7.5 |
18.5 |
||
150QJ5-300/42 |
300 |
9.2 |
22.12 |
||
型 號 |
流量 (m3/h) |
揚程參考使用範圍 |
電機功率 (KW) |
額定電流 (A) |
出水管直徑 (寸) |
150QJ10-50/7 |
10 |
50 |
3 |
7.9 |
2 |
150QJ10-78/11 |
78 |
4 |
10.26 |
||
150QJ10-100/14 |
100 |
5.5 |
13.7 |
||
150QJ10-128/18 |
128 |
7.5 |
18.5 |
||
150QJ10-150/21 |
150 |
7.5 |
18.5 |
||
150QJ10-178/25 |
178 |
9.2 |
22.12 |
||
150QJ10-200/28 |
200 |
11 |
26.28 |
||
150QJ10-250/35 |
250 |
13 |
30.87 |
||
150QJ10-300/42 |
300 |
15 |
35.62 |
||
型 號 |
流量 (m3/h) |
揚程參考使用範圍 |
電機功率 (KW) |
額定電流 (A) |
出水管直徑 (寸) |
150QJ20-24/4 |
20 |
19-29 |
3 |
7.90 |
2 |
150QJ20-30/5 |
24-36 |
3 |
7.90 |
||
150QJ20-36/6 |
29-43 |
4 |
10.26 |
||
150QJ20-42/7 |
34-50 |
4 |
10.26 |
||
150QJ20-48/8 |
38-58 |
5.5 |
13.74 |
||
150QJ20-54/9 |
43-65 |
5.5 |
13.74 |
||
150QJ20-60/10 |
48-72 |
7.5 |
18.5 |
||
150QJ20-66/11 |
53-79 |
7.5 |
18.5 |
||
150QJ20-72/12 |
58-76 |
7.5 |
18.5 |
||
150QJ20-78/13 |
62-94 |
7.5 |
18.5 |
||
150QJ20-84/14 |
67-101 |
9.2 |
22.12 |
||
150QJ20-90/15 |
72-108 |
9.2 |
22.12 |
||
150QJ20-96/16 |
77-115 |
9.2 |
22.12 |
||
150QJ20-102/17 |
82-122 |
11 |
26.28 |
||
150QJ20-108/18 |
86-130 |
11 |
26.28 |
||
150QJ20-114/19 |
91-137 |
11 |
26.28 |
||
150QJ20-120/20 |
96-144 |
13 |
30.87 |
||
150QJ20-126/21 |
101-151 |
13 |
30.87 |
||
150QJ20-132/22 |
106-158 |
13 |
30.87 |
||
150QJ20-138/23 |
110-166 |
13 |
30.87 |
||
150QJ20-144/24 |
115-173 |
15 |
35.62 |
||
150QJ20-150/25 |
120-180 |
15 |
35.62 |
||
150QJ20-156/26 |
125-187 |
15 |
35.62 |
||
150QJ20-162/27 |
130-194 |
15 |
35.62 |
||
型 號 |
流量 (m3/h) |
揚程參考使用範圍 |
電機功率 (KW) |
額定電流 (A) |
出水管直徑 (寸) |
150QJ25-24/3 |
25 |
24 |
3 |
7.9 |
2.5 |
150QJ25-32/4 |
32 |
4 |
10.3 |
||
150QJ25-40/5 |
40 |
5.5 |
13.7 |
||
150QJ25-48/6 |
48 |
5.5 |
13.7 |
||
150QJ25-56/7 |
56 |
7.5 |
18.5 |
||
150QJ25-64/8 |
64 |
7.5 |
18.5 |
||
150QJ25-72/9 |
72 |
9.2 |
22.1 |
||
150QJ25-80/10 |
80 |
9.2 |
22.1 |
||
150QJ25-88/11 |
88 |
11 |
26.3 |
||
150QJ25-96/12 |
96 |
11 |
26.3 |
||
150QJ25-104/13 |
104 |
13 |
30.9 |
||
150QJ25-112/14 |
112 |
13 |
30.9 |
||
150QJ25-120/15 |
120 |
15 |
35.6 |
||
150QJ25-128/16 |
128 |
15 |
35.6 |
||
150QJ25-136/17 |
136 |
18.5 |
44.0 |
||
150QJ25-144/18 |
144 |
18.5 |
44.0 |
||
150QJ25-152/19 |
152 |
18.5 |
44.0 |
||
型 號 |
流量 (m3/h) |
揚程參考使用範圍 |
電機功率 (KW) |
額定電流 (A) |
出水管直徑 (寸) |
150QJ32-18/3 |
32 |
18 |
3 |
7.9 |
2.5 |
150QJ32-24/4 |
24 |
4 |
10.26 |
||
150QJ32-30/5 |
30 |
5.5 |
13.74 |
||
150QJ32-36/6 |
36 |
5.5 |
13.74 |
||
150QJ32-42/7 |
42 |
7.5 |
18.5 |
||
150QJ32-54/9 |
54 |
9.2 |
22.12 |
||
150QJ32-66/11 |
66 |
11 |
26.28 |
||
150QJ32-72/12 |
72 |
13 |
30.87 |
||
150QJ32-84/14 |
84 |
13 |
30.87 |
||
150QJ32-90/15 |
90 |
15 |
35.62 |
||
150QJ32-96/16 |
96 |
15 |
35.62 |
||
150QJ32-108/18 |
108 |
18.5 |
44.0 |
||
型 號 |
流量 (m3/h) |
揚程參考使用範圍 |
電機功率 (KW) |
額定電流 (A) |
出水管直徑 (寸) |
175QJ10-30/2 |
10 |
30 |
3 |
7.8 |
2 |
175QJ10-45/3 |
45 |
4 |
10.1 |
||
175QJ10-60/4 |
60 |
5.5 |
13.6 |
||
175QJ10-90/6 |
90 |
7.5 |
18.4 |
||
175QJ10-105/7 |
105 |
9.2 |
22.1 |
||
175QJ10-135/9 |
135 |
11 |
26.1 |
||
型 號 |
流量 (m3/h) |
揚程參考使用範圍 |
電機功率 (KW) |
額定電流 (A) |
出水管直徑 (寸) |
175QJ20-26/2 |
20 |
26 |
3 |
7.8 |
2 |
175QJ20-39/3 |
39 |
4 |
10.1 |
||
175QJ20-52/4 |
52 |
5.5 |
13.6 |
||
175QJ20-65/5 |
65 |
7.5 |
18.4 |
||
175QJ20-78/6 |
78 |
7.5 |
18.4 |
||
175QJ20-91/7 |
91 |
9.2 |
22.1 |
||
175QJ20-104/8 |
104 |
11 |
26.1 |
||
175QJ20-117/9 |
117 |
13 |
30.1 |
||
175QJ20-130/10 |
130 |
13 |
30.1 |
||
175QJ20-143/11 |
143 |
15 |
34.7 |
||
175QJ20-156/12 |
156 |
15 |
34.7 |
||
175QJ20-169/13 |
169 |
18.5 |
42.6 |
||
175QJ20-182/14 |
182 |
18.5 |
42.6 |
||
175QJ20-195/15 |
195 |
22 |
49.7 |
||
175QJ20-208/16 |
208 |
22 |
49.7 |
||
175QJ20-221/17 |
221 |
22 |
49.7 |
||
175QJ20-234/18 |
234 |
25 |
56.5 |
||
175QJ20-247/19 |
247 |
25 |
56.5 |
||
型 號 |
流量 (m3/h) |
揚程參考使用範圍 |
電機功率 (KW) |
額定電流 (A) |
出水管直徑 (寸) |
175QJ32-24/2 |
32 |
24 |
4 |
10.1 |
2.5 |
175QJ32-36/3 |
36 |
5.5 |
13.6 |
||
175QJ32-48/4 |
48 |
7.5 |
18.4 |
||
175QJ32-60/5 |
60 |
9.2 |
22.1 |
||
175QJ32-72/6 |
72 |
11 |
26.1 |
||
175QJ32-84/7 |
84 |
13 |
30.1 |
||
175QJ32-96/8 |
96 |
15 |
34.7 |
||
175QJ32-120/10 |
120 |
18.5 |
42.6 |
||
175QJ32-144/12 |
144 |
22 |
49.7 |
||
175QJ32-168/14 |
168 |
25 |
56.5 |
||
型 號 |
流量 (m3/h) |
揚程參考使用範圍 |
電機功率 (KW) |
額定電流 (A) |
出水管直徑 (寸) |
175QJ40-24/2 |
40 |
24 |
5.5 |
13.6 |
2.5 |
175QJ40-36/3 |
36 |
7.5 |
18.4 |
||
175QJ40-48/4 |
48 |
9.2 |
22.1 |
||
175QJ40-60/5 |
60 |
11 |
26.1 |
||
175QJ40-72/6 |
72 |
13 |
30.1 |
||
175QJ40-84/7 |
84 |
15 |
34.7 |
||
175QJ40-96/8 |
96 |
18.5 |
42.6 |
||
175QJ40-108/9 |
108 |
22 |
49.7 |
||
175QJ40-120/10 |
126 |
22 |
49.7 |
||
175QJ40-132/11 |
132 |
25 |
56.5 |
||
型 號 |
流量 (m3/h) |
揚程參考使用範圍 |
電機功率 (KW) |
額定電流 (A) |
出水管直徑 (寸) |
175QJ50-24/2 |
50 |
24 |
5.5 |
13.6 |
3 |
175QJ50-36/3 |
36 |
9.2 |
22.1 |
||
175QJ50-48/4 |
48 |
11 |
26.1 |
||
175QJ50-60/5 |
60 |
13 |
30.1 |
||
175QJ50-84/7 |
84 |
18.5 |
42.6 |
||
175QJ50-96/8 |
96 |
22 |
49.7 |
||
175QJ50-108/9 |
108 |
25 |
56.5 |
||
型 號 |
流量 (m3/h) |
揚程參考使用範圍 |
電機功率 (KW) |
額定電流 (A) |
出水管直徑 (寸) |
200QJ20-40/3 |
20 |
35-45 |
4 |
10.1 |
2 |
200QJ20-54/4 |
45-58 |
5.5 |
13.6 |
||
200QJ20-67-5 |
58-72 |
7.5 |
18 |
||
200QJ20-81/6 |
72-86 |
7.5 |
18 |
||
200QJ20-93/7 |
86-98 |
9.2 |
21.7 |
||
200QJ20-108/8 |
98-115 |
11 |
25.8 |
||
200QJ20-121/9 |
115-128 |
13 |
29.8 |
||
200QJ20-133/10 |
120-140 |
15 |
33.9 |
||
200QJ20-148/11 |
140-158 |
15 |
33.9 |
||
200QJ20-175/13 |
153-190 |
18.5 |
41.6 |
||
200QJ20-202/15 |
199-215 |
22 |
48.2 |
||
200QJ20-243/18 |
220-250 |
25 |
54.5 |
2.5 |
|
200QJ20-270/20 |
250-282 |
30 |
65.4 |
||
200QJ20-297/22 |
280-315 |
30 |
65.4 |
||
200QJ20-338/25 |
315-350 |
37 |
79.7 |
||
200QJ20-350/26 |
335-370 |
37 |
79.7 |
||
200QJ20-363/27 |
350-385 |
37 |
79.7 |
||
200QJ20-400/30 |
375-420 |
45 |
96.9 |
||
200QJ20-450/34 |
425-470 |
45 |
96.9 |
||
200QJ20-490/37 |
490 |
55G |
117 |
||
200QJ20-517/39 |
517 |
55G |
117 |
||
200QJ20-543/41 |
543 |
55G |
117 |
||
型 號 |
流量 (m3/h) |
揚程參考使用範圍 |
電機功率 (KW) |
額定電流 (A) |
出水管直徑 (寸) |
200QJ32-26/2 |
32 |
23-30 |
4 |
10.1 |
2.5 |
200QJ32-39-3 |
35-45 |
5.5 |
13.6 |
||
200QJ32-52/4 |
45-55 |
7.5 |
18 |
||
200QJ32-65/5 |
55-73 |
11 |
25.8 |
||
200QJ32-78/6 |
70-84 |
11 |
25.8 |
||
200QJ32-91/7 |
80-105 |
13 |
29.8 |
||
200QJ32-104/8 |
95-110 |
15 |
33.9 |
||
200QJ32-130/10 |
120-137 |
18.5 |
41.6 |
||
200QJ32-156/12 |
140-162 |
25 |
54.5 |
||
200QJ32-195/15 |
180-215 |
30 |
65.4 |
||
200QJ32-234/18 |
224-247 |
37 |
79.7 |
||
200QJ32-247/19 |
234-255 |
37 |
79.7 |
||
200QJ32-260/20 |
250-275 |
45 |
96.9 |
||
200QJ32-286/22 |
275-300 |
45 |
96.9 |
||
型 號 |
流量 (m3/h) |
揚程參考使用範圍 |
電機功率 (KW) |
額定電流 (A) |
出水管直徑 (寸) |
200QJ40-26/2 |
40 |
23-30 |
5.5 |
13.6 |
2.5 |
200QJ40-39/3 |
35-45 |
7.5 |
18 |
||
200QJ40-52/4 |
45-55 |
9.3 |
21.7 |
||
200QJ40-65/5 |
55-73 |
11 |
25.8 |
||
200QJ40-78/6 |
70-84 |
15 |
33.9 |
||
200QJ40-104-8 |
95-110 |
18.5 |
41.6 |
||
200QJ40-117/9 |
105-120 |
22 |
48.2 |
||
200QJ40-143/11 |
130-145 |
25 |
54.5 |
||
200QJ40-169/13 |
160-175 |
30 |
65.4 |
||
200QJ40-208/16 |
200-215 |
37 |
79.7 |
||
型 號 |
流量 (m3/h) |
揚程參考使用範圍 |
電機功率 (KW) |
額定電流 (A) |
出水管直徑 (寸) |
200QJ50-13/1 |
50 |
10-16 |
4 |
10.1 |
3 |
200QJ50-26/2 |
23-29 |
5.5 |
13.6 |
||
200QJ50-39/3 |
35-43 |
9.2 |
21.7 |
||
200QJ50-52/4 |
43-58 |
11 |
25.8 |
||
200QJ50-65/5 |
58-75 |
15 |
33.9 |
||
200QJ50-78/6 |
70-90 |
18.5 |
41.6 |
||
200QJ50-91/7 |
80-110 |
22 |
48.2 |
||
200QJ50-104/8 |
90-118 |
25 |
54.5 |
||
200QJ50-117/9 |
100-130 |
30 |
65.4 |
||
200QJ50-130/10 |
115-148 |
30 |
65.4 |
||
200QJ50-156/12 |
142-180 |
37 |
79.7 |
||
200QJ50-182/14 |
165-206 |
45 |
96.9 |
||
200QJ50-195/15 |
185-220 |
45 |
96.9 |
||
型 號 |
流量 (m3/h) |
揚程參考使用範圍 |
電機功率 (KW) |
額定電流 (A) |
出水管直徑 (寸) |
200QJ63-12/1 |
63 |
8-15 |
4 |
10.1 |
3 |
200QJ63-24/2 |
19-30 |
7.5 |
18 |
||
200QJ63-36/3 |
28-44 |
11 |
21.7 |
||
200QJ63-48/4 |
38-58 |
15 |
33.9 |
||
200QJ63-60/5 |
47-75 |
18.5 |
41.6 |
||
200QJ63-72/6 |
56-88 |
22 |
48.2 |
||
200QJ63-84/7 |
68-105 |
25 |
54.5 |
||
200QJ63-96/8 |
76-118 |
30 |
65.4 |
||
200QJ63-108/9 |
86-130 |
30 |
65.4 |
||
200QJ63-120/10 |
95-142 |
37 |
79.9 |
||
200QJ63-144/12 |
112-168 |
45 |
96.9 |
||
型 號 |
流量 (m3/h) |
揚程參考使用範圍 |
電機功率 (KW) |
額定電流 (A) |
出水管直徑 (寸) |
200QJ80-11/1 |
80 |
8-13 |
4 |
10.1 |
4 |
200QJ80-22/2 |
16-25 |
7.5 |
18 |
||
200QJ80-33/3 |
28-42 |
11 |
25.8 |
||
200QJ80-44/4 |
40-50 |
15 |
33.9 |
||
200QJ80-55/5 |
50-60 |
18.5 |
41.6 |
||
200QJ80-66/6 |
60-70 |
22 |
48.2 |
||
200QJ80-77/7 |
70-80 |
30 |
65.4 |
||
200QJ80-88/8 |
80-95 |
37 |
79.7 |
||
200QJ80-99/9 |
95-110 |
37 |
79.7 |
||
200QJ80-121/11 |
110-140 |
45 |
96.9 |
||
型 號 |
流量 (m3/h) |
揚程參考使用範圍 |
電機功率 (KW) |
額定電流 (A) |
出水管直徑 (寸) |
250QJ32-138/6 |
32 |
124-151 |
22 |
47.9 |
2.5 |
250QJ32-161/7 |
145-176 |
25 |
53.8 |
||
250QJ32-184/8 |
166-202 |
30 |
64.2 |
||
250QJ32-207/9 |
186-227 |
37 |
77.8 |
||
250QJ32-230/10 |
207-252 |
37 |
77.8 |
||
250QJ32-253/11 |
227-277 |
45 |
94.1 |
||
250QJ32-276/12 |
248-302 |
45 |
94.1 |
||
250QJ32-300/13 |
270-328 |
55 |
114.3 |
3 |
|
250QJ32-322/14 |
290-352 |
55 |
114.3 |
||
250QJ32-345/15 |
310-370 |
63 |
130.9 |
||
250QJ32-368/16 |
332-395 |
63 |
130.9 |
||
250QJ32-391/17 |
352-420 |
63 |
130.9 |
||
250QJ32-414/18 |
373-445 |
75 |
152.3 |
||
250QJ32-437/19 |
394-468 |
75 |
152.3 |
||
250QJ32-460/20 |
414-495 |
75 |
152.3 |
||
250QJ32-483/21 |
435-510 |
90 |
182.8 |
||
250QJ32-506/22 |
455-543 |
90 |
182.8 |
||
250QJ32-529/23 |
476-568 |
90 |
182.8 |
||
250QJ32-552/24 |
498-588 |
90 |
182.8 |
||
型 號 |
流量 (m3/h) |
揚程參考使用範圍 |
電機功率 (KW) |
額定電流 (A) |
出水管直徑 (寸) |
250QJ50-20/1 |
50 |
18-22 |
5.5 |
13.6 |
4 |
250QJ50-40/2 |
37-45 |
9.2 |
21.7 |
||
250QJ50-60/3 |
55-65 |
13 |
29.8 |
||
250QJ50-80/4 |
75-85 |
18.5 |
41.6 |
||
250QJ50-100/5 |
93-107 |
22 |
47.9 |
||
250QJ50-120/6 |
113-127 |
25 |
53.8 |
||
250QJ50-140/7 |
120-160 |
37 |
77.8 |
||
250QJ50-160/8 |
151/170 |
37 |
77.8 |
||
250QJ50-180/9 |
170-190 |
45 |
94.1 |
||
250QJ50-200/10 |
190-210 |
45 |
94.1 |
||
250QJ50-220/11 |
208-230 |
55 |
114.3 |
||
250QJ50-240/12 |
220-260 |
55 |
114.3 |
||
250QJ50-260/13 |
245-271 |
63 |
130.9 |
||
250QJ50-280/14 |
265-291 |
63 |
130.9 |
||
250QJ50-300/15 |
288-312 |
63 |
152.3 |
||
250QJ50-320/16 |
308-332 |
75 |
152.3 |
||
250QJ50-340/17 |
320-360 |
75 |
182.8 |
||
250QJ50-360/18 |
355-380 |
90 |
182.8 |
||
型 號 |
流量 (m3/h) |
揚程參考使用範圍 |
電機功率 (KW) |
額定電流 (A) |
出水管直徑 (寸) |
250QJ80-20/1 |
80 |
17-22 |
7.5 |
18 |
4 |
250QJ80-40/2 |
35/44 |
15 |
33.9 |
||
250QJ80-60/3 |
52-66 |
22 |
47.9 |
||
250QJ80-80/4 |
70-80 |
30 |
64.2 |
||
250QJ80-100/5 |
87-110 |
37 |
77.8 |
||
250QJ80-120/6 |
105-131 |
45 |
94.1 |
||
250QJ80-140/7 |
122-153 |
55 |
114.3 |
||
250QJ80-160/8 |
150/170 |
63 |
130.9 |
||
250QJ80-180/9 |
170-197 |
63 |
130.9 |
||
250QJ80-200/10 |
184-219 |
75 |
152.3 |
||
250QJ80-220/11 |
210-230 |
90 |
182.8 |
||
250QJ80-240/12 |
230-253 |
90 |
182.8 |
||
型 號 |
流量 (m3/h) |
揚程參考使用範圍 |
電機功率 (KW) |
額定電流 (A) |
出水管直徑 (寸) |
250QJ100-18/1 |
100 |
15-22 |
7.5 |
18 |
4 |
250QJ100-36/2 |
30-44 |
15 |
33.9 |
||
250QJ100-54/3 |
44-60 |
25 |
53.8 |
||
250QJ100-72/4 |
66-78 |
30 |
64.2 |
||
250QJ100-108/6 |
110-116 |
45 |
94.1 |
||
250QJ100-126/7 |
118-136 |
55 |
114.3 |
||
250QJ100-144/8 |
136-152 |
63 |
130.9 |
||
250QJ100-162/9 |
156-170 |
75 |
152.3 |
||
250QJ100-198/11 |
188-208 |
90 |
182.8 |
||
型 號 |
流量 (m3/h) |
揚程參考使用範圍 |
電機功率 (KW) |
額定電流 (A) |
出水管直徑 (寸) |
250QJ125-16/1 |
125 |
14-19 |
9.2 |
21.7 |
5 |
250QJ125-32/2 |
28-35 |
18.5 |
41.6 |
||
250QJ125-48/3 |
42-54 |
25 |
53.8 |
||
250QJ125-64/4 |
56-70 |
37 |
77.8 |
||
250QJ125-80/5 |
72-90 |
45 |
94.1 |
||
250QJ125-96/6 |
86-105 |
55 |
114.3 |
||
250QJ125-112/7 |
102-120 |
63 |
130.9 |
||
250QJ125-128/8 |
120-138 |
75 |
152.3 |
||
250QJ125-144/9 |
134-156 |
90 |
182.8 |
||
250QJ125-160/10 |
150-175 |
90 |
182.8 |
||
型 號 |
流量 (m3/h) |
揚程參考使用範圍 |
電機功率 (KW) |
額定電流 (A) |
出水管直徑 (寸) |
250QJ140-21/1 |
140 |
21 |
13 |
29.8 |
5 |
250QJ140-42/2 |
42 |
25 |
53.8 |
||
250QJ140-63/3 |
63 |
45 |
94.1 |
||
250QJ140-84/4 |
84 |
55 |
114.3 |
||
250QJ140-105/5 |
105 |
63 |
130.9 |
||
250QJ140-126/6 |
126 |
90 |
182.8 |
||
250QJ140-15/1 |
15 |
9.2 |
21.7 |
||
250QJ140-30/2 |
30 |
18.5 |
41.6 |
||
250QJ140-45/3 |
45 |
30 |
64.2 |
||
250QJ140-60/4 |
60 |
37 |
77.8 |
||
250QJ140-75/5 |
75 |
45 |
94.1 |
||
250QJ140-90/6 |
90 |
55 |
114.3 |
||
250QJ140-105/7 |
105 |
63 |
130.9 |
||
250QJ140-120/8 |
120 |
75 |
152.3 |
||
250QJ140-150/10 |
150 |
90G |
182.8 |
||
250QJ140-165/11 |
165 |
100G |
203.1 |
||
250QJ140-180/12 |
180 |
110G |
223.4 |
結構說明
1、QJ深井潛水泵機組由:水泵、潛水電機(包括電纜)、輸水管和控製開關四大部分組成。
QJ深井潛水泵為立式離心泵:潛水電機為密閉充水濕式、立式三相籠異步電動機,電機與水泵通過爪式或單健筒式聯軸器直接;配備有不同規格的三芯電纜;起動設備為不同容量等級的空氣開關和自偶減壓起動器、輸水管為不同直徑的鋼管製成、采用法蘭聯接,高揚程式電泵采用閘閥控製。
2、QJ係列潛水深井泵每級導流殼中裝有一個橡膠軸承;葉輪用錐形套固定在泵軸上;導流殼采用螺紋或螺栓聯成一體。
3、QJ深井潛水泵上部裝有止回閥,避免停機水垂造成機組破壞。
4、潛水電機軸上部裝有迷宮式防砂器和兩個反向裝配的骨架油封,防止流砂進入電機。
5、潛水電機采用水潤滑軸承,下部裝有橡膠調壓膜、調壓彈簧,組成調壓室,調節由於溫度引起的壓力變化;電機繞組采用聚乙稀絕緣,尼龍護套耐用消費品水電磁線,電纜聯接方式按QJ型電纜接頭工藝,把接頭絕緣脫去刮淨漆層,分別接好,焊接牢固,用生橡膠繞一層。再用防水粘膠帶纏2~3層,外麵包上2~3層防水膠布或用水膠粘結包一層橡膠帶(自行車裏帶)以防滲水。
6、電機密閉,采用精密止口螺栓,電纜出口加膠墊進行密封。
7、電機上端有一個注水孔,有一個放氣孔,下部有一個放水孔。
8、電機下部裝有上下止推軸承,止推軸承上有溝槽用於冷卻,和它對磨的是不鏽鋼推力盤,隨水泵的上下軸向力。
結構尺寸圖
|
安裝、啟動與停車
運行、維護與保養
1、電泵運行中要經常觀察電流、電壓表和水的流量,力求電泵在額定工況下運行。
2、應用閥門調節流量、揚程、不得超載運行。有下列情況之一應立即停止運行:
(1)、額定電壓時電流超過額定值;
(2)、額定揚程下,流量較正常情況下降低較大;
(3)、絕緣電阻低於0.5兆歐;
(4)、動水位降至泵吸入口時;
(5)、電器設備及電路不合規定時;
(6)、電泵有突然聲呼或較大的震動時;
(7)、保護開關頻繁跳閘時。
3、要經常不斷的觀察儀表,檢查電器設備每半個月測一次電機絕緣電阻,電阻值不低於0.5兆歐。
4、每排灌期(2500小時)進行一次檢修保護,更換損壞的易損件。
5、電泵的起吊與裝卸:
(1)、拆開電纜,斷離電源;
(2)、用安裝工具逐步拆卸出水管、閘閥、彎管,並用夾板將泵吊起取出井蓋,並用另一付夾板夾緊下一節輸水管,這樣依次,逐節拆卸
將泵吊出井外。(在吊拆過程發現有卡住不能強行起吊,應上下左右活動克服卡點安全吊卸);
(3)、拆下護線板,濾水網並從引線和三芯電纜或扁電纜接頭處剪斷電纜。
(4)、取出聯軸器上鎖圈,擰下固定螺釘,拆下連接螺栓,使電機、水泵分離;
(5)、放出電機同內充水;
(6)、水泵的拆卸:
用拆裝拆手,左旋卸下進水節,用拆裝筒在泵下部衝擊錐形套,葉輪鬆動後,取出葉輪、錐形套、卸下導流殼,這樣依次卸 完葉輪、導流殼、上導流殼,止回閥等。
(7)、電機拆卸:依次拆下底座、止推軸承、推力盤、下導軸承座連接座、甩水器,取出轉子,拆下上導軸承座、定子等。
6、電泵的裝配:裝配前檢查清洗各零部件的鐵鏽、汙泥,各配合麵要塗黃油防鏽,水泵大螺紋聯接處要塗鉛油。
(1)、電機的裝配次序;
定子組裝,下忖軸承座組裝,轉子組裝。推力盤,左扣螺母,止推軸承組接,底座組裝,上導軸承座組裝,骨架油封,連接座。調整調整螺柱,使電機軸伸符合規定的要求。然後上好調好膜、調壓彈簧及蓋。
(2)、水泵的裝配:
將軸和進水節固定在安裝座上,用拆裝筒將葉輪、錐形套固定在軸上,再裝上導流殼、葉輪,這樣依次裝完上流殼、止回閥等。八級以下的電機水泵部分裝配時,首先在進水節和上導軸承座接觸平麵間均勻分布,加相同3~3.5毫米墊片3~4處,然後均勻上好拉筋螺母,裝上聯軸器、泵軸、上好固定螺柱以及鎖圈,用拆裝筒將葉輪、錐形套固定在泵軸上,再裝上導流殼, 葉輪.這樣依次裝完上導流殼等。泵裝好後鬆開拉筋螺母,取墊片,再把拉筋螺母均勻上緊,然後從聯軸器處轉動電泵、轉動必須均勻。
(3)、機組總裝,如前所述。
常見故障原因及解決方法
故 障 |
原 因 |
排 除 方 法 |
不上水或出水不足 |
1.動水位低於泵吸入口。
2.輸水管漏水嚴重或水管脫開。
3.轉子和軸鬆動。
4.部分葉輪鬆動。
5.電機反轉。
6.管路堵塞。 |
1.增加輸水管,若還不出水並超過水泵使用揚程範圍建議換泵
2.更換輸水管。
3.更換轉子。
4.重新裝配葉輪。
5.調換電源接頭。
6.清除堵塞。 |
水泵流量降低 |
1.密封環嚴重磨損。
2.濾水網、導流殼、葉輪流道被堵塞。
3.電壓、頻率較低。
4.動水位下降超過水泵額定揚程。 |
1.更換密封環。
2.清除堵物。
3.停機待電壓、頻率達到規定值後再啟動。
4.更換高揚程泵。 |
流過大表指針擺動
機組劇烈震動或電 |
1.泵軸或電機軸彎曲。
2.泵軸、電機軸和軸承磨損嚴重。
3.止推軸承磨損或損壞。
4.推力盤緊固螺母損壞。
5.推力盤破裂。
6.電機轉子掃膛。
7.葉輪、轉子不平衡或轉子斷條。
8.聯接螺栓鬆動。
9.水泵低揚程大流量電機超載。
10.井水湧水量不夠,間歇出水。 |
1.修理或更換泵軸或電機軸。
2.更換軸承。
3.更換止推軸承。
4.修好軸頭,更換螺母。
5.更換推力盤。
6.找出原因進行修理。
7.重作動平衡或更換轉子。
8.上緊螺栓。
9.加閘閥控製流量在工況點運行。
10.加閘閥控製出水量。 |
動嗡嗡作響
電機不能啟 |
1.斷相。
2.電壓過低。
3.軸承抱軸。
4.葉輪密封環之間鏽死等。
5.泵內有異物卡死葉輪不能轉動。 |
1.檢修線路或啟動設備。
2.調整電壓。
3.修理軸及軸承。
4.撬動水泵旋轉或拆下泵重裝。
5.取出異物。 |
低繞組燒毀
絕緣電阻過 |
1.接頭進水。
2.繞組破壞。
3.電纜破裂。
4.電機內缺水。
5.缺相運轉。
6.長時間超載運轉。
7.電機埋入泥沙中。 |
1.修接頭。
2.包紮或更換繞組。
3.包紮電纜。
4.電機內保證灌滿清水。
5.檢查線路與設備。
6.降低負荷使電機電流不超過銘牌規定值。
7.按安裝要求安裝電機。 |