
型號意義

產品簡介
FY不鏽鋼化工液下泵是本單位在傳統液下泵基礎上,融合瑞士蘇爾壽公司同類產品的先進技術,經改進設計而生產的新型泵;該泵取消了其他液下泵普遍采用的機械密封和選用了獨特結構的葉輪,使泵高效節能、無泄漏、壽命特長,從而廣泛應用於石油、化工、製藥、造紙、冶金、汙水處理等行業。
1、FY不鏽鋼化工液下泵為立式結構,外形美觀,直接安裝在被輸送介質的儲存器上,無額外占地麵積,從而降低了基建投入。
2、取消了機械蜜蜂,解決了其它液下泵因機械密封容易磨損而須經常維修的煩惱,節約了泵的運行成本,提高了工作效率。
3、采用了獨特的離心式雙平衡葉輪,供輸送不含固體顆粒等清潔的介質,振動噪音特低,效率高;采用開式雙平衡葉輪,供輸送不清潔帶有固體顆粒及短纖維的液體,運行平穩、不堵塞。
使用條件
1.FY不鏽鋼化工液下泵被輸送介質溫度為-20-140℃。
2.FY不鏽鋼化工液下泵鑄鐵材質的泵,介質PH值在5-9範圍內。
3.FY不鏽鋼化工液下泵采用開式葉輪的泵,被輸送液體中含有的固體顆粒直徑以不超過泵吸人口直徑30%為宜。
型譜圖
|
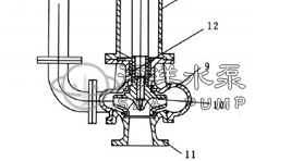
結構示意圖
|
1 |
聯軸器 |
|||
2 |
軸承盒 |
||||
3 |
下支架 |
||||
4 |
安裝盤 |
||||
5 |
支撐管 |
||||
6 |
軸 |
||||
7 |
出口法蘭 |
||||
8 |
出液管 |
||||
9 |
泵體 |
||||
10 |
葉輪 |
||||
11 |
泵蓋 |
||||
12 |
軸套 |
性能參數
型號 |
出口直徑 (mm) |
流量Q |
揚程 (m) |
轉速 (r/min) |
功率(kw) |
||
(m3/h) |
(L/s) |
軸功率 |
電機功率 |
||||
25FY-16 |
25 |
3.6 |
1 |
16 |
2900 |
0.713 |
1.5 |
25FY-16A |
25 |
3.27 |
0.91 |
13 |
2900 |
0.713 |
1.5 |
25FY-25 |
25 |
3.6 |
1 |
25 |
2900 |
1.16 |
2.2 |
25FY-25A |
25 |
3.27 |
0.91 |
20 |
2900 |
1.16 |
2.2 |
25FY-41 |
25 |
3.6 |
1 |
41 |
2900 |
2.51 |
4 |
25FY-41A |
25 |
3.27 |
0.91 |
33 |
2900 |
2.51 |
3 |
40FY-16 |
32 |
7.2 |
2 |
16 |
2900 |
0.78 |
2.2 |
40FY-16A |
32 |
6.55 |
1.82 |
13 |
2900 |
0.78 |
1.5 |
40FY-26 |
32 |
7.2 |
2 |
26 |
2900 |
1.45 |
3 |
40FY-26A |
32 |
6.55 |
1.82 |
21 |
2900 |
1.45 |
3 |
40FY-40 |
32 |
7.2 |
2 |
40 |
2900 |
2.53 |
5.5 |
40FY-40A |
32 |
6.55 |
1.82 |
32 |
2900 |
2.53 |
5.5 |
50FY-16 |
40 |
14.4 |
4 |
16 |
2900 |
1.18 |
3 |
50FY-16A |
40 |
13.1 |
3.64 |
13 |
2900 |
1.18 |
3 |
50FY-25 |
40 |
14.4 |
4 |
25 |
2900 |
1.96 |
4 |
50FY-25A |
40 |
13.1 |
3.64 |
20 |
2900 |
1.96 |
3 |
50FY-40 |
40 |
14.1 |
4 |
40 |
2900 |
3.73 |
7.5 |
50FY-40A |
40 |
13.1 |
3.61 |
33 |
2900 |
3.73 |
5.5 |
65FY-16 |
50 |
28.8 |
8 |
16 |
2900 |
2.16 |
4 |
65FY-16A |
50 |
26.2 |
7.28 |
13 |
2900 |
2.16 |
3 |
65FY-25 |
50 |
28.8 |
8 |
25 |
2900 |
3.56 |
5.5 |
65FY-25A |
50 |
26.2 |
7.28 |
21 |
2900 |
3.56 |
5.5 |
65FY-40 |
50 |
28.8 |
8 |
40 |
2900 |
6.04 |
11 |
65FY-40A |
50 |
26.2 |
7.28 |
33 |
2900 |
6.04 |
11 |
80FY-15 |
65 |
54 |
15 |
15 |
2900 |
3.34 |
7.5 |
80FY-15A |
65 |
49.1 |
13.65 |
12 |
2900 |
3.34 |
7.5 |
80FY-24 |
65 |
54 |
15 |
24 |
2900 |
5.43 |
11 |
80FY-24A |
65 |
49.1 |
13.65 |
20 |
2900 |
5.43 |
11 |
80FY-38 |
65 |
54 |
15 |
38 |
2900 |
9.64 |
18.5 |
80FY-38A |
65 |
49.1 |
13.65 |
31 |
2900 |
9.64 |
15 |
100FY-23 |
80 |
100.8 |
28 |
23 |
2900 |
9.25 |
18.5 |
100FY-23A |
80 |
91.8 |
25.5 |
18 |
2900 |
9.25 |
15 |
100FY-37 |
80 |
100.8 |
28 |
37 |
2900 |
14.73 |
22 |
100FY-37A |
80 |
91.8 |
25.5 |
31 |
2900 |
14.73 |
22 |
使用注意事項
拆卸與裝配
1、如更換或檢查葉輪,可關閉出閥門,卸去法蘭連接螺栓和底板連接螺栓,用起重工具將泵吊出容器。
2、將底板垂直在固定的支架上,卸去泵體的所有螺栓,取出泵蓋和葉輪螺母,用雙錘輕擊泵體,即可卸下葉輪。
3、更換流動軸承則底板不動,隻要卸去電機及相應支架,卸去泵聯軸器、壓蓋、圓螺母,取也軸套體。
4、裝配與拆卸的次序相反,注意軸上配件的同心度。
安裝、使用、維修
1、FY不鏽鋼化工液下泵組裝後,盤動聯軸器,看是否轉動靈活。檢查是否有金屬摩擦聲,各部件螺母是否旋緊。
2、檢查FY不鏽鋼化工液下泵軸和電機軸的同心度,上下聯軸器外圓左右差數不得超過0.1mm,聯軸器端麵間隙保持1~2.5mm。
3、FY不鏽鋼化工液下泵的吸入口到容器底部之間距離為吸入口徑的2~3倍。泵體與器壁距離應大於口徑的2.5倍。
4、FY不鏽鋼化工液下泵的出液管路,應另設支架支撐,其重量不允許支撐在泵上。
5、檢查電機的旋轉方向,使泵的旋轉方向符合指示方向。
6、關閉出口管路上的閘閥,接通冷卻水管。
7、超動電機,慢慢開啟出口管閘閥到需要的位置,投入正常運轉。
8、經常檢查FY不鏽鋼化工液下泵與電機的情況,軸承溫升不應超過75℃,軸承盒內應加足夠黃油。
故障分析及其排除方法
故障 |
原因 |
排除方法 |
打不出液體 |
(1)電機轉向不對 (2)液體未浸沒葉輪中心線 |
(1)調整方向 (2)調整浸沒高度 |
流量不足 |
(1)葉輪腐蝕磨損嚴重 (2)轉速不足 (3)開式葉輪軸向間隙過大 (4)吸入或出口部分堵塞 |
(1)更換葉輪 (2)提高轉速 (3)重新調整間隙 (4)清除淤塞部分 |
揚程不足 |
(1)輸送液體中含有氣體 (2)葉輪被嚴重腐蝕 (3)轉速不足 |
(1)降低液體溫度排氣 (2)更換葉輪 (3)提高轉速 |
功率過大 |
(1)流量超過使用範圍 (2)介質比重過大 (3)發生機械磨擦 (4)填料壓得太緊 |
(1)調整泵流量到使用範圍 (2)更換較大功率電機 (3)調整或更換磨擦部件 (4)旋鬆填料壓蓋 |
軸承發熱 |
(1)泵軸與電機軸不同心 (2)軸承盒內缺油或油變質 |
(1)調整同心 (2)加油或換油 |
雜聲或振動 |
(1)泵軸與電機軸不同心 (2)輸送液體中含有氣體 (3)轉子不平衡 (4)螺母有鬆動現象 (5)軸套與襯套磨損過大 |
(1)調整同心 (2)降低液體溫度排氣 (3)更換零件 (4)擰紫各部位螺母 (5)更換襯套、調整軸同 |